企業情報 経営方針 コーポレートガバナンス

トップページ企業情報 > 経営方針 コーポレートガバナンス

コーポレート・ガバナンスに対する基本的な考え方と基本方針

(コーポレート・ガバナンスに関する基本的な考え方)

当社は経営理念を基に事業活動を通して社会貢献していくことが当社の持続的な発展と企業価値の向上につながるものと認識しております。この考え方のもと、会社を取り巻くステークホルダーの信頼や期待に応えられるよう、より一層コーポレートガバナンスの強化を図ってまいります。
コーポレートガバナンスの強化にあたっては、金融商品取引所が定める「コーポレートガバナンス・コード」の趣旨を尊重し、ガバナンス体制の整備と業務運営の継続的な改善を図ることを基本方針として取り組んでまいります。

(コーポレート・ガバナンス体制)

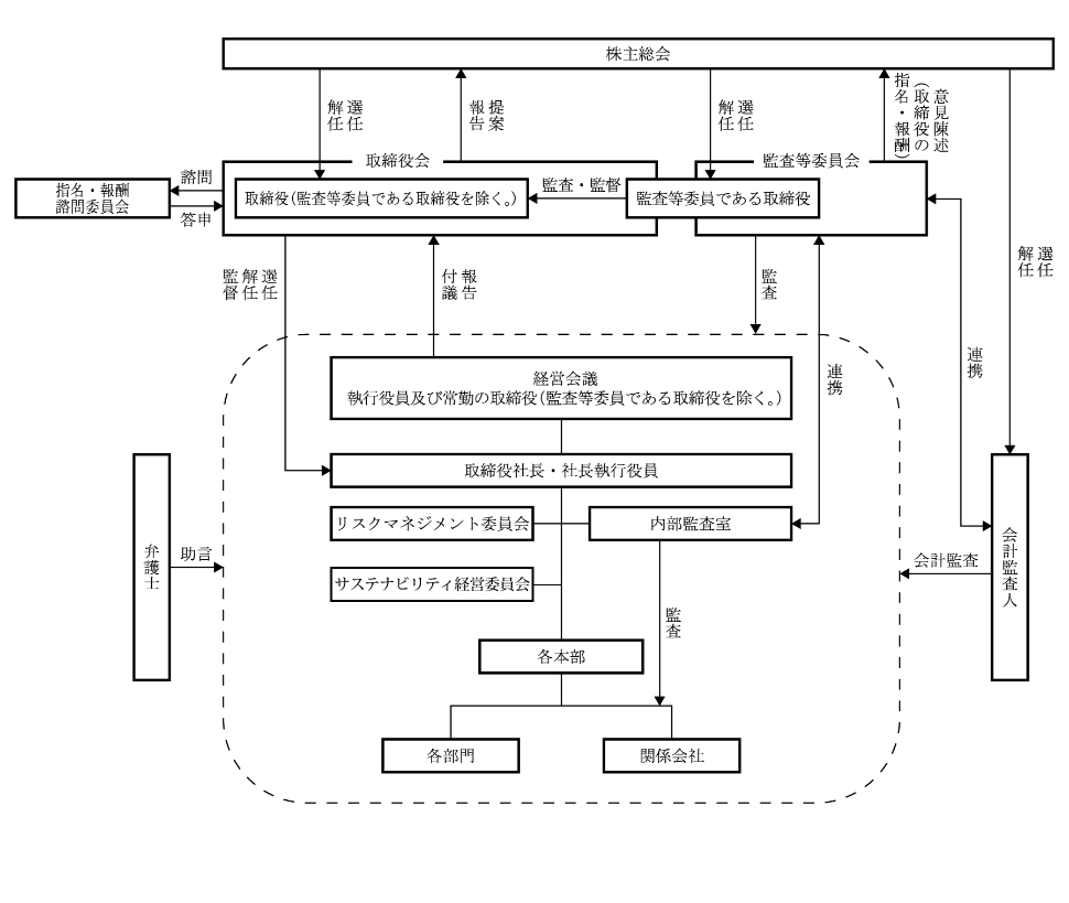
コーポレート・ガバナンス体制

(コーポレート・ガバナンスに関する施策の実施状況)

当社は監査等委員会設置会社であり、社外取締役(監査等委員である社外取締役を含む。)を選任し、経営の透明性や健全性並びに客観性の確保を図り、ガバナンスの強化に努めております。
また、経営の意思決定・監督機関としての取締役会と、その意思決定に基づく業務執行体制として、執行役員及び常勤の取締役(監査等委員である取締役を除く。)で構成された経営会議を設置し、経営の意思決定と業務執行の分離の確立を図っております。
取締役会は、法令、定款及び取締役会規則で定められた事項、当社及びグループ会社の重要事項等を決定しております。
なお、当社は、取締役会における意思決定の迅速化による経営の機動性向上を図るため、取締役会の決議によって重要な業務執行の決定の全部又は一部を取締役に委任することができる旨定款で規定しております。執行役員は、取締役会や経営会議で決定された事業計画や業務計画に基づき、担当分野の施策の決定や業務遂行を行っております。
会計監査人は有限責任監査法人トーマツと監査契約を締結しております。また、弁護士事務所と顧問契約を結んでおり、必要に応じ、リーガルチェックやアドバイスを受けております。

取締役会
取締役会は10名(監査等委員である取締役4名を含む。)で構成し、そのうち5名(監査等委員である取締役3名を含む。)は社外取締役であります。原則として月1回開催するほか、必要に応じて随時開催しております。
取締役は、法令・定款に基づき決議を要する事項のほか、すべての重要事項に関して審議し、業務執行状況についても随時報告しております。(男性9名、女性1名、取締役のうち女性の比率10%)

監査等委員会
監査等委員会は監査等委員である取締役4名で構成し、そのうち3名は社外の監査等委員である取締役であります。監査等委員会は原則として月1回開催するほか、必要に応じて随時開催しております。
常勤の監査等委員である取締役は、経営会議をはじめ主要な会議に出席し、監査等委員として積極的に意見を述べるほか、他の監査等委員にも情報を提供し、共有化を図っております。また、代表取締役と定期的に意見交換を行う等、連携を図っております。
このほか、公認会計士、社内スタッフなどから報告を受け、また子会社、関連会社への監査を行っております。

経営会議
経営会議は、社長執行役員が議長となり、原則として隔週開催し、取締役会で決定された方針の具体化、取締役会決議事項以外の重要事項のほか、事業に関わる課題の対策等を協議・決定しております。
経営会議には常勤の監査等委員である取締役が出席し、業務執行の確認を行い、意見を述べております。

指名・報酬諮問委員会
取締役会の諮問機関である指名・報酬諮問委員会(構成員の過半数が社外取締役、かつ、委員長は社外取締役)において、取締役の構成、取締役候補者の選解任方針、報酬の構成や支給基準、各取締役の報酬等について審議しております。

業績連動報酬
取締役(監査等委員である取締役及び社外取締役を除く。)の個人別の報酬等の内容に係る決定方針(以下、「決定方針」という。)を定めており、その概要は、企業価値の持続的な向上を図るインセンティブとして機能するような報酬体系とし、個々の取締役(監査等委員である取締役及び社外取締役を除く。)の報酬の決定に際しては役職や職責に応じた適正な水準とすることを基本方針としております。
取締役(監査等委員である取締役及び社外取締役を除く。)の報酬は、固定報酬及び業績連動報酬により構成され、固定報酬は基本報酬及び株式取得を目的とした株式取得目的報酬、業績連動報酬は金銭報酬(賞与)及び株式報酬(譲渡制限付株式報酬)で構成されております。
なお、監査等委員である取締役及び社外取締役の報酬は、その役割と独立性の観点から基本報酬のみとしております。

取締役のスキルマトリックス
各取締役の知識・経験・能力等を一覧化したいわゆるスキル・マトリックスは、「定時株主総会招集ご通知」に掲載しております。
詳しくはこちら>

コーポレート・ガバナンスに関する報告書
当社が東京証券取引所に提出した「コーポレート・ガバナンスに関する報告書」を掲載しております。

また、有価証券報告書、第一部【企業情報】>第4【提出会社の状況】>4【コーポレート・ガバナンスの状況等】にも記載しております。

お問い合わせはこちら

本社
  • TEL 092-415-5500 FAX 092-415-5511
日本タングステン株式会社(Nippon Tungsten Co.,Ltd)
〒812-8538 福岡市博多区美野島一丁目2番8号
TEL 092-415-5500(代表) / FAX 092-415-5511(代表)
Copyright(C) 2006 Nippon Tungsten Co., Ltd. All right reserved.
お問い合わせフォーム お電話・FAXでのお問い合わせ